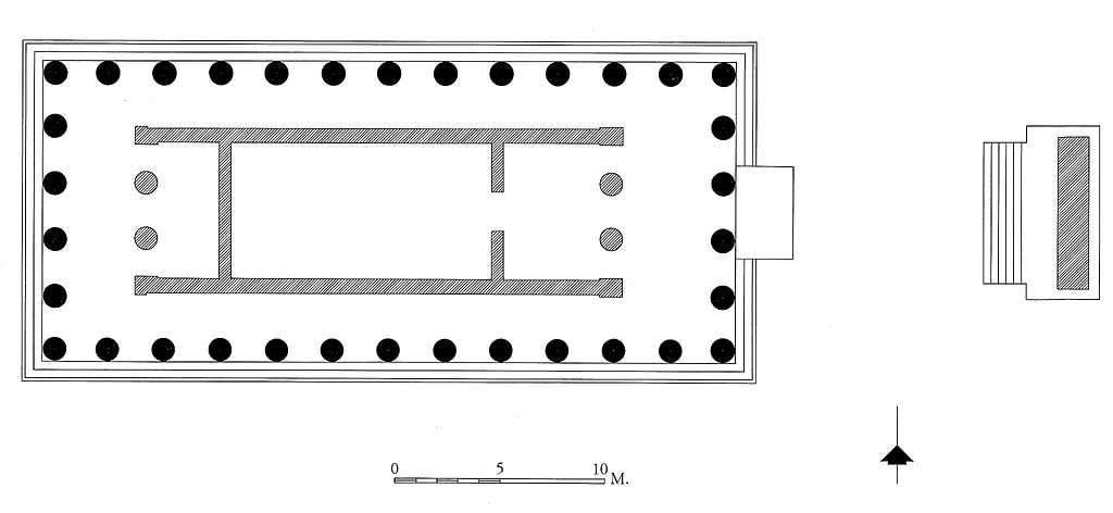
Image: 2008.20.0073Plan of the Temple of Ares, second half of 5th century B.C., rebuilt in the
Agora in the late 1st century B.C.
image
Archive Number:   2008.20.0073
Title:   Plan of the Temple of Ares, second half of 5th century B.C., rebuilt in the
Agora in the late 1st century B.C.
PD Number:   PD 769-a
Date:   1969
Bibliography:   Guide (2010), p. 111, fig. 72.
    AgoraPicBk 16 (2003), p. 37, fig. 56.
Rating:   4
References:   Publication: AgoraPicBk 16 (1976)
Drawing: PD 769-a (DA 4402)