| Archive Number: | 1997.18.0049 | |
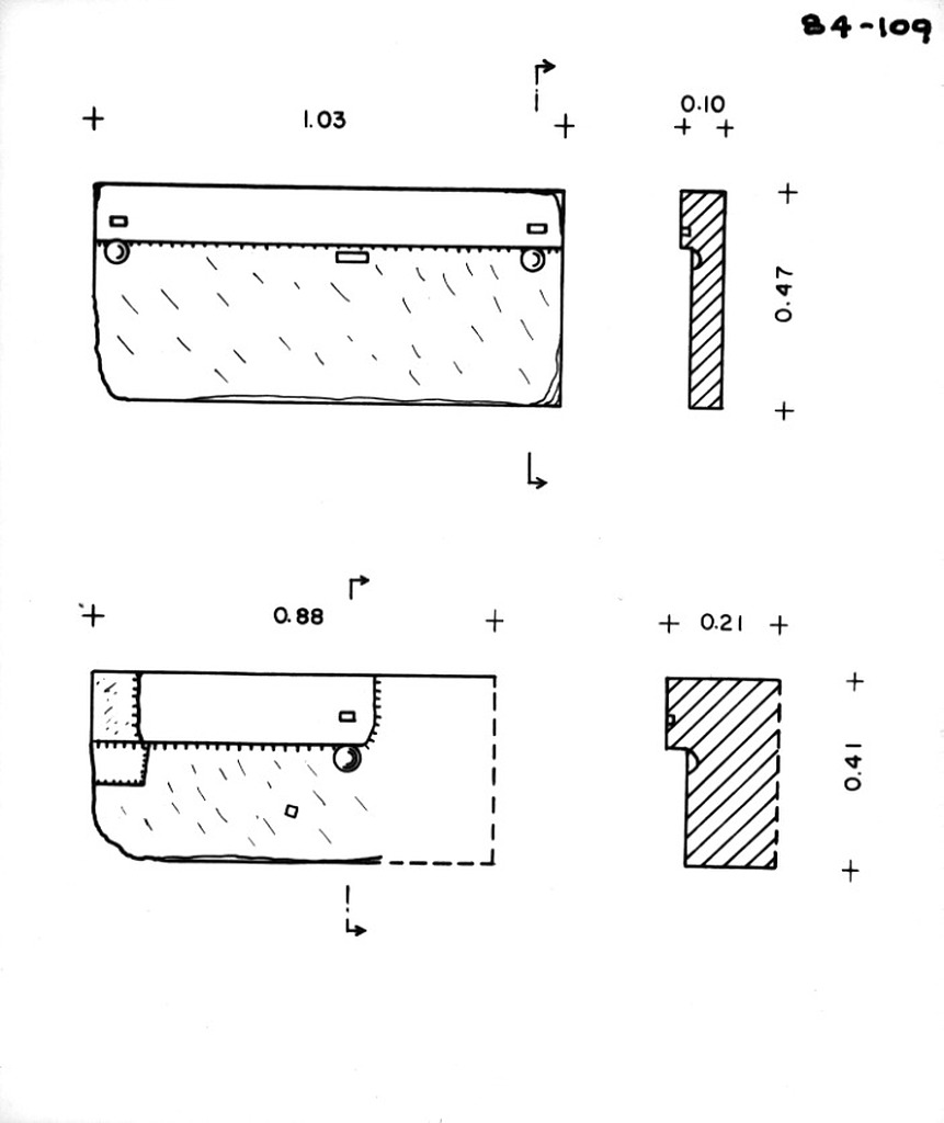
| Title: | Plan and section of a threshold block to Room O of the House of Aristodemos. | |
| Negative: | 84-109 | |
| PD Number: | PD 1395 | |
| Date: | 1965 | |
| Rating: | 1 | |
| Section: | ΔΕ | |
| Storage: | Drawer 18 | |
| References: | Drawing: PD 1395 (DA 6826) Image: 2012.57.0042 (84-109) |