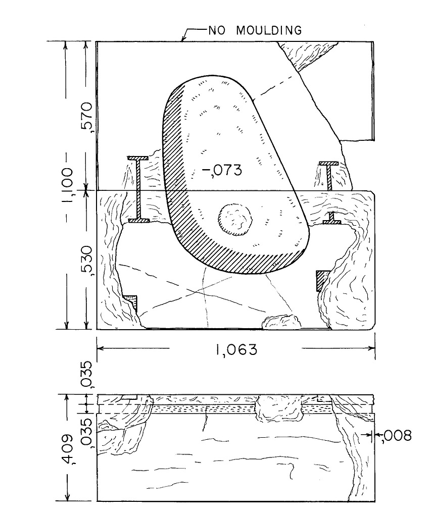
Drawing: PD 1819 (DA 3648)Statue Base in Small Temple, north of Temple of Athena at Sounion.
image
Name:   PD 1819 (DA 3648)
PD:   PD 1819
Title:   Statue Base in Small Temple, north of Temple of Athena at Sounion.
Artist:   W.B. Dinsmoor Jr.
Notes:   Original.
Scanned at Princeton.
Storage:   29-2
Bibliography:   Barletta (2017), p. 73, fig. 78.
Date:   1968
References:   Publication: Barletta (2017)